| Standard: GB 4443-1984 |
| Type: Roller type |
| Suitable chain size: 70mm~132mm |
| Availible cert.: CCS, ABS, BV, DNV, LR and other certificates. |
GB 4443-1984 Marine roller-type Cable Stopper

Introduction:
The marine roller type cable stopper specified in the standard GB 4443-84 is suitable for marine U1, U2, U3 anchor chains with a chain diameter of 70mm~132mm. The guillotine of the marine roller type cable stopper under this standard is equipped with a fixed counterweight brake, which can balance the guillotine when the guillotine is opened. The marine roller type cable stopper must be inspected by the technical department of the manufacturer before leaving the factory, and a certificate of conformity can be issued only after passing the inspection. The qualified marine roller type cable stopper shall have the following signs:
1. The name or imprint of the manufacturer;
2. Product code;
3. Production batch number or production date;
4. Qualified seal of inspection.
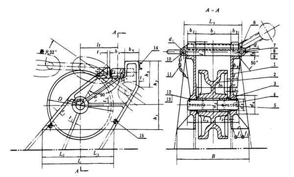
Drawings and Parameters of GB 4443-1984 Marine Roller-type Cable Stopper:

Form1-1:
Anchor Chain Dia. (mm) | L | L1 | L2 | L3 | L4 | l1 | l2 | l3 | l4 | B | b1 | b2 | b3 | b4 | b5 | b6 | b7 | b8 |
70~73 | 765 | 400 | 365 | 700 | 635 | 130 | 414 | 45 | 100 | 850 | 400 | 100 | 376 | 180 | 12 | 135 | 99 | 160 |
76~78 | 825 | 435 | 390 | 730 | 670 | 140 | 442 | 48 | 105 | 900 | 425 | 110 | 399 | 190 | 13 | 140 | 105 | 170 |
81~84 | 895 | 475 | 420 | 780 | 710 | 160 | 475 | 50 | 110 | 970 | 454 | 120 | 426 | 200 | 14 | 150 | 112 | 180 |
87~90 | 965 | 515 | 450 | 840 | 750 | 180 | 507 | 55 | 125 | 1030 | 484 | 130 | 454 | 210 | 15 | 160 | 119 | 190 |
92~95 | 1025 | 550 | 475 | 880 | 790 | 200 | 535 | 58 | 130 | 1080 | 508 | 140 | 476 | 220 | 16 | 170 | 126 | 200 |
97~102 | 1105 | 595 | 510 | 940 | 835 | 220 | 572 | 60 | 135 | 1150 | 540 | 150 | 506 | 230 | 17 | 180 | 134 | 215 |
105~107 | 1165 | 630 | 535 | 990 | 870 | 240 | 600 | 63 | 140 | 1210 | 569 | 160 | 533 | 240 | 18 | 190 | 139 | 225 |
111~114 | 1245 | 675 | 570 | 1040 | 915 | 250 | 637 | 68 | 150 | 1270 | 598 | 170 | 560 | 250 | 19 | 200 | 147 | 235 |
117~122 | 1335 | 725 | 610 | 1100 | 965 | 270 | 679 | 70 | 155 | 1340 | 632 | 180 | 592 | 260 | 20 | 210 | 156 | 250 |
124~132 | 1445 | 785 | 660 | 1170 | 1030 | 280 | 730 | 75 | 165 | 1440 | 674 | 190 | 632 | 270 | 21 | 225 | 167 | 270 |
Form1-2:
Anchor Chain Dia. (mm) | D | d1 | d2 | d3 | d4 | h1 | h2 | h3 | t1 | t2 | r1 | r2 | f1 | f2 | Weight(kg) |
70~73 | 730 | 45 | 109 | 110 | 194 | 255 | 460 | 240 | 26 | 8 | 150 | 32 | 22 | 14 | 1053 |
76~78 | 780 | 48 | 116 | 117 | 208 | 270 | 490 | 260 | 27 | 8 | 165 | 35 | 22 | 14 | 1246 |
81~84 | 840 | 50 | 124 | 125 | 222 | 290 | 530 | 280 | 29 | 8 | 175 | 38 | 25 | 16 | 1559 |
87~90 | 900 | 55 | 132 | 133 | 236 | 320 | 570 | 320 | 31 | 10 | 190 | 40 | 25 | 16 | 1901 |
92~95 | 950 | 58 | 139 | 140 | 248 | 335 | 610 | 345 | 33 | 10 | 200 | 42 | 25 | 16 | 2251 |
97~102 | 1020 | 60 | 148 | 149 | 264 | 355 | 650 | 375 | 35 | 10 | 210 | 45 | 28 | 18 | 2556 |
105~107 | 1070 | 63 | 154 | 155 | 274 | 380 | 690 | 395 | 37 | 15 | 225 | 47 | 28 | 18 | 3113 |
111~114 | 1140 | 68 | 163 | 164 | 290 | 400 | 740 | 425 | 38 | 15 | 250 | 50 | 30 | 20 | 3696 |
117~122 | 1220 | 70 | 173 | 174 | 308 | 430 | 790 | 465 | 40 | 15 | 270 | 52 | 30 | 20 | 4415 |
124~132 | 1320 | 75 | 185 | 186 | 328 | 455 | 860 | 490 | 43 | 15 | 300 | 55 | 30 | 20 | 5443 |
BACK TO TOP